新闻资讯
当前位置:首页》新闻资讯
活塞式气动马达是比较常见的气动马达类型,主要应用于矿山机械,也可用作传送带等的驱动马达。在运转中活塞式气动马达难免会出现故障,所以在做好保养的同时,也要学会辨别故障的原因,采取正确的方法处理故障。下面欧旭机械厂带大家一起来了解下。
一、活塞式气马达故障及排除方法
活塞式气马达一般转速在250一1500r/min,功率在0.1—50kW。结构复杂、维修要求一般,但检修必须重视质量。常见的故障及排除方法见下表。

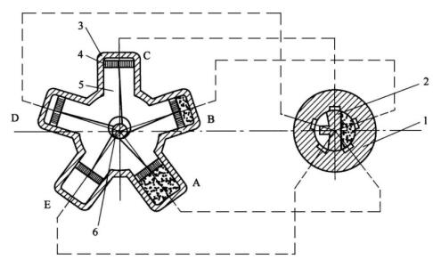
如图所示为五缸径向活塞式气动马达结构原理图,五个气缸均匀分布在气动马达壳体的圆周上,压缩空气进入配气阀后顺序推动各活塞,从而带动曲轴连续旋转。

二、活塞式气马达维护保养
气动马达空载运转试验时,其空气压力和流量要适当控制,避免高速运转时润滑不良而损坏机件。
1、管理系统应安装油雾器,雾状油随压缩空气送入气马达,润滑油选用N32或N46。
2、气管与气马达联结时,应该用气体吹净气管内的水分和污物等。
3、在使用中若出现故障,如声音异常等不正常现象,应立即停止使用进行检查。
4、气马达按其使用情况,定期维修,以延长某些机件的使用寿命。
5、在拆卸和装配时,切勿用铁锤敲打零件的表面。装配时,零件应清洗干净,装配完毕,曲柄应转动灵活,不得有卡死、单边等现象。