新闻资讯
当前位置:首页》新闻资讯
气动马达在使用过程中会出现噪音大、排污等严重影响工作人员及周围人员的身体健康,所以如何减少气动马达的噪音污染已经成为迫不及待要解决的问题。
目前的气动马达消音器仍采用传统的阻性消音方式及抗性消音方式,最终废弃润滑油及磨损产生的粉尘呈雾状经消音器排气口直接排放到空气中,这种这种气动马达消音器的噪音仍然很大,且会污染环境。

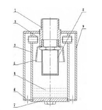
结构原理剖面示意图
气动马达消音集污装置如上图,包括空心壳体9、导流集油筒3、空气导流口2、排气口6、滤心8、旋风板4、外接气动马达连接管1及下端盖7,所讲空心壳体9内设置导流集油筒3并与讲空心壳体9采用密封连接,滤心8是一种小孔子扩散洗消音器,它带有大量细小孔隙,可将排放气流滤成无数小的气流,使气体压力降低,流速被扩散减少,从而达到降噪目的。
根据气动马达润滑油进给量及叶片耐磨性的不同,需要打开下端盖7清理污油混合物的周期不尽相同,推荐周期不超过120分钟每次,以保证消音集污装置的正常工作。
下一条:大部分气动马达具有地共同特点